

文 | 秋山论交易
由于生猪价钱长技艺处于低位,国内猪企2025年的日子并不好过,诚然出栏量有所增长,销售收入却遍及下滑。尽管饲料业务量利双增,新但愿六和股份有限公司(下称“新但愿”)2025年度依旧遭逢遍及吃亏。
本年1月31日,新但愿发布2025年度功绩预报,涌现其2025年度预亏15亿元到18亿元。功绩预报败露,新但愿瞻望2025年已毕归母净利润-15亿元到-18亿元,同比下落416.72%到480.07%;扣非归母净利润-11.8亿元到-14.8亿元,同比下落292.05%到340.87%。

2025年上半年,新但愿一度出现了功绩复苏的迹象,已毕营收516.25亿元,同比增长4.13%;已毕归母净利润7.55亿元,同比加多162%。这亦然近5年来,新但愿初度在上半年已毕盈利。
插足第三季度后场合急转直下,新但愿尽管在这个季度已毕营收288.79亿元,同比增长4.51%,归母净利润却暴跌99.63%至512.55万元。2025年前三季度,新但愿归母净利润为7.6亿元。
按照2025年度预亏15亿元到18亿元来盘算,短短三个月技艺新但愿在第四季度的吃亏应该在22亿元到25亿元足下。
其实,新但愿2025年上半年的复苏,本就极度脆弱。比拟牧原股份、温氏股份等头部企业,新但愿的盈利智力一般。毛利率方面,2025年上半年新但愿仅有7.87%,而牧原股份和温氏股份高达19.02%、13.76%;销售净利率方面,新但愿也仅有1.74%,而牧原股份和温氏股份则达到14.11%、7.08%。
在巨亏的同期,新但愿在环境混浊问题上,依旧莫得找到好的贬责目的,旗下子公司屡屡因为这个问题遭到监管部门处罚,还有多家子公司由于违犯交通法举例超载等被责令停产破产,另有多家子公司成为被实行东谈主或失信被实行东谈主。
混浊短板依旧未补皆,多家子公司被遍及罚金
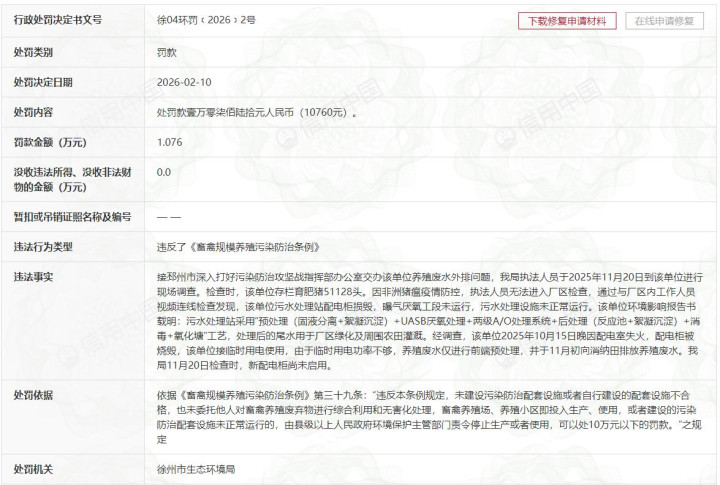
与许多猪企一样,新但愿一样靠近着环境混浊问题。企业预警通败露,扫数2025年,新但愿旗下子公司因为混浊问题被处罚的事件有20起足下。2026年也还是发生了2起,最近一次是在2月10日,被处罚的是邳州新但愿六和农牧有限公司,被罚金1.08万元。
凭据信用中国的信息,徐州市生态环境局2025年11月20日到邳州新但愿六和农牧有限公司进行现场访问时发现,该单元浑水处理站配电柜损毁,曝气厌氧工段未起先,浑水处理表情未平日起先。由于2025年10月15日晚因配电室火灾,配电柜被放手,导致临时用电功率不够,衍生废水仅进行前端预处理,亚搏并于11月初向消纳田排放衍生废水。

新但愿旗下子公司2025年临了一次遭到处罚是在2025年12月26日。客东谈主市生态环境局行政法则东谈主员于2025年11月5日对客东谈主新好农牧有限公司陈流育肥场进行访问时发现,该公司存在未罗致步骤退缩排放靡烂气体、抵拒日起先混浊防治表情通过躲闪监管的口头排放大气混浊物、超标排放水混浊物等非法行径。12月26日,客东谈主市生态环境局对客东谈主新好农牧有限公司处以罚金61.51万元。

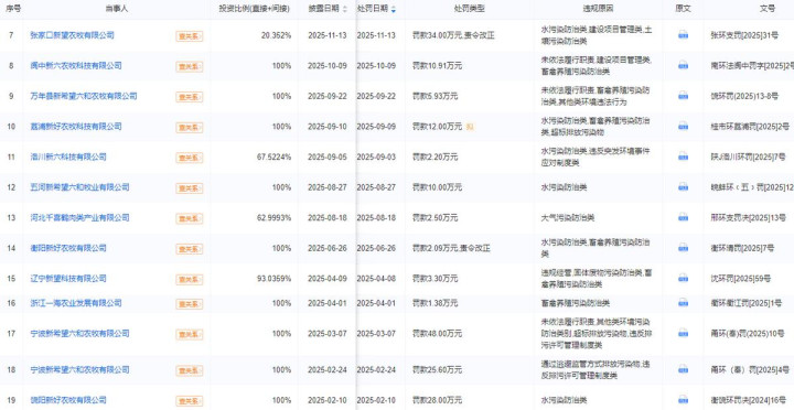
新但愿旗下子公司因混浊问题遭到大额罚金的情况并不有数,比如张家口新望农牧有限公司2025年11月13日被张家口市生态环境局处以罚金34万元、宁波新但愿六和农牧有限公司2025年2月24日和3月7日被宁波市生态环境局辩认处以罚金25.6万元和48万元、饶阳新好农牧有限公司2025年2月10日被衡水市生态环境局处以罚金28万元。

除了混浊问题比较严重,新但愿旗下子公司还因为违犯交通法例被责令停产破产。2月13日,邳州市交通输送局法则东谈主员发现邳州新但愿六和农牧有限公司驾驶员于2025年3月5日超载,于本年2月14日责令其破产整顿1日;2025年12月24日,昌邑市新好牧业有限公司因非法超限输送的货运车辆杰出本单元货运车辆总和10%,被昌邑市交通输送局责令破产整顿3天;2025年8月5日,东海县新好农牧有限公司也因为驾驶员超载问题被责令破产整顿7日。
襄阳新好农牧有限公司、禹城市新但愿六和种猪繁育有限公司、施秉县新但愿六和衍生有限公司、凉山新六衍生有限公司等子公司,也都有过违犯交通轨则的行径。不啻于此,新但愿旗下子公司还因偷税、违章贪图等问题遭到监管部门处罚。这些无独有偶的问题,讲明新但愿对联公司的管控存在许多不及的场地。
多家子公司失信或成为被实行东谈主,或影响商场信心
不仅仅上述问题,新但愿还有多家子公司成为了被实行东谈主或失信被实行东谈主。本年1月8日,山东新但愿六和集团有限公司被列为被实行东谈主,实行方向5.15万元,实行法院为诸城市东谈主民法院,为初度实行。

新但愿2025年半年报败露,山东新但愿六和为其一级子公司,抓股比例为93.53%。山东新但愿六和的主要贪图地在山东青岛,2025年上半年的营收为230.5亿元,吃亏28.5亿元。尽管5.15万元的实行金额不算多,但这对企业信誉必定会形成负面影响。
天眼查败露,山东新但愿六和被列为被实行东谈主后不久,湖北新好农牧有限公司也成为了被实行东谈主,技艺是本年1月14日,实行方向405.7万元,实行法院为枣阳市东谈主民法院。比拟山东新但愿六和,湖北新好农牧的被实行金额要大得多,因此其贪图气象也值多礼贴。

青岛新航工程治理有限公司则是在2025年12月26日被列为被实行东谈主,实行方向5542元,实行法院为青岛市崂山区东谈主民法院。
凭据2025年12月24日发布的信息,朔州新好农牧有限公司被列为了失信被实行东谈主,涉案金额为319.5万元。天眼查败露,该案的立案日历是2025年8月26日,实行法院为朔州市朔城区东谈主民法院,朔州新好农牧有限公司一皆未推行,属于“有推行智力而拒不推行生借鉴律文牍确界说务”。到了12月26日,该案已成为终本案件,未推行金额为73.06万元。

要是说混浊和交通违章等问题仅仅治理问题,那么成为被实行东谈主或失信被实行东谈主,则触及贪图气象和信用气象,影响到企业的商场信心。新但愿这样多家子公司成为了被实行东谈主或失信被实行东谈主,带来的负面影响可念念而知。

备案号: